Apple раскрыла патент на гибкий и ударопрочный дисплей складного  iPhone

На фоне слухов о якобы отказе Apple от производства складного iPhone корпорация раскрыла патент на дисплей для таких устройств. Дисплей для складного айфона должен быть более прочным и гибким по сравнению с конкурентами.

Apple раскрыла патент на гибкий и ударопрочный дисплей складного  iPhone
© Ferra.ru

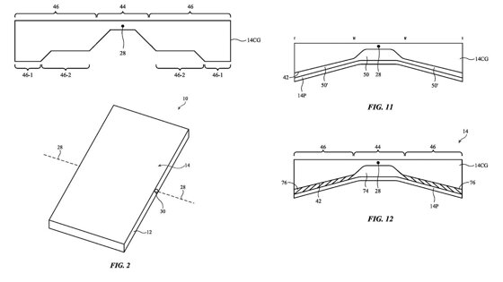
Сообщается, что к такому выводу Apple пришла в результате испытаний в самых суровых условиях матриц для гибких дисплеев всех конкурентов: вендор на время взял паузу для исследований ввиду опасений их ломкости. Патент Apple под названием «Электронные устройства с прочными складными дисплеями», который на данях появился на сайте Управления по патентам и товарным знакам США (USPTO), подразумевает работу компании над таким дисплеем.

Матрица будет иметь структуру, выполненную из композитных материалов, с различной толщиной стекла в разных частях экрана. По краям дисплея стекло будет толще, к месту изгиба — утончаться. В патенте уточняется, что такая структура матрицы позволит упрочнить дисплей по углам и сделать более гибким в месте изгиба во избежание образования складок.

Напомним, если складной iPhone увидит свет, получит два дисплея: внешний с диагональю 6" и внутренний — 8". Коме того, Apple может выпустить складной iPad с диагональю 20" и MacBook на 18,8" и 20,3" в разложенном виде, в сложенном диагональ составит 15" и 13".

Все складные устройства Apple может представить в 2026 году. Но пока вендор эту информацию не комментирует.